Mathematics
Find the area and the perimeter of the following figure.
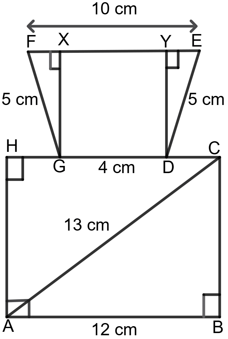
Given : AB = 12 cm, AC = 13 cm, DE = FG = 5 cm, EF = 10 cm and GD = 4 cm.

Mensuration
3 Likes
Answer
As △ABC is a right angled triangle, using pythagoras theorem:
⇒ AC2 = AB2 + BC2
⇒ 132 = 122 + BC2
⇒ 169 = 144 + BC2
⇒ BC2 = 169 - 144
⇒ BC2 = 25
⇒ BC =
⇒ BC = 5
(Since length cannot be negative, we take the positive value.)
BC = 5 cm
Perimeter of the figure = AB + BC + CH + DE + EF + FG + HA - GD
= 12 + 5 + 12 + 5 + 10 + 5 + 5 - 4
= 50 cm
Area of figure = Area of rectangle ABCH + Area of quadrilateral DEFG
Area of rectangle ABCH = length x breadth
= AB x BC
= 12 x 5 = 60 cm2
Consider GDEF as a trapezium with EF ∥ GD. Draw GX ⊥ EF and DY ⊥ EF.

In ΔFXG and ΔEYD,
FG = ED (Given)
∠FXG = ∠EYD = 90°
GX = DY (Perpendiculars between two parallel lines are equal in length)
By SAS congruence criterion,
ΔFXG ≅ ΔEYD
FX = EY (By CPCT)
XY = GD = 4 cm.
EF = XY + FX + YE
10 = 4 + FX + YE
FX + YE = 6 cm
FX = YE = = 3 cm
In ΔFXG, using pythagoras theorem,
FG2 = FX2 + GX2
⇒ 52 = 32 + GX2
⇒ 25 = 9 + GX2
⇒ GX2 = 25 - 9
⇒ GX2 = 16
⇒ GX = = 4 cm
Area of trapezium GDEF = x (Sum of parallel sides) x height
= x (GD + EF) x GX
= x (10 + 4) x 4
= x 14 x 4
= 7 x 4 = 28 cm2
Area of figure = Area of rectangle ABCH + Area of trapezium GDEF = 60 + 28 = 88 cm2
Hence, perimeter of the figure = 50 cm and area of the figure = 88 cm2.
Answered By
2 Likes
Related Questions
The base of a triangular field is 2.4 times its height. If the cost of levelling the field at the rate of ₹ 20 per square metre is ₹ 9,600; find its base and height.
ABC and BDE are two equilateral triangles such that D is the mid-point of BC. If AB = 20 cm, find the area of the shaded portion. [Take √3 = 1.73]
![ABC and BDE are two equilateral triangles such that D is the mid-point of BC. If AB = 20 cm, find the area of the shaded portion. [Take √3 = 1.73]. Chapterwise Revision (Stage 2), Concise Mathematics Solutions ICSE Class 9.](https://cdn1.knowledgeboat.com/img/cm9/q100-chapterwise-revision-stage-2-maths-concise-icse-class-9-solutions-715x802.png)
Each side of a square ABCD is 12 cm. A point P lies on side DC such that area of △ ADP : area of trapezium ABCP = 2 : 3. Find DP.
In a pentagon ABCDE, DP is drawn perpendicular to AB and is perpendicular to CE also at point Q. If AP = BP = 12 cm, EQ = CQ = 8 cm, DE = DC = 10 cm and DP = 18 cm, find the area of the pentagon ABCDE.